How to Fit a Door Handle

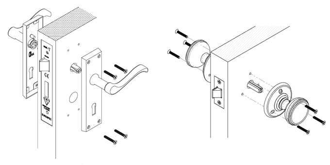
- The first step is to insert the square spindle through the latch/sashlock. If the spindle is slotted, then you must ensure the slot is facing downwards.
- Slide the handle backplate or the rose onto the spindle and fix it to your door with the screws provided.
- Now slide the handle or knob firmly onto the spindle. Make sure that you fix it in position with the provided grub screw.
- In order to fit an escutcheon to the keyhole, you must align the backing plate with the slot in the lock case and once again fix with the screws provided.
- Now push or screw on the escutcheon cover.
- Make sure that you clean the new fittings with a soft dry cloth. Its important that you do not use abrasive cleaners or solvents. Finally apply a thin layer of beeswax.
